iPhone(2028)が自社開発の1億画素LOFICイメージセンサーを採用か

Appleは、2028年に発売するiPhoneに自社開発のイメージセンサーを搭載する計画を進めていると、リーカーが伝えています。
このイメージセンサーは従来のものと比べ、格段に広いダイナミックレンジを実現する見込みです。
1億画素LOFIC-CMOSイメージセンサーを2028年に搭載
リーカーの数码闲聊站氏(Digital Chat Station)によると、Appleはイメージセンサーの内製化を進めており、2028年モデルのiPhoneには1億画素の横型オーバーフロー蓄積容量(LOFIC:Lateral Overflow Integration Capacitor)CMOSイメージセンサーが搭載される見通しとのことです。
LOFIC-CMOSイメージセンサーは、既存のCMOSイメージセンサーと比べてダイナミックレンジが飛躍的に広いことが特徴です。
AppleはLOFIC-CMOS関連特許を2024年に取得済み
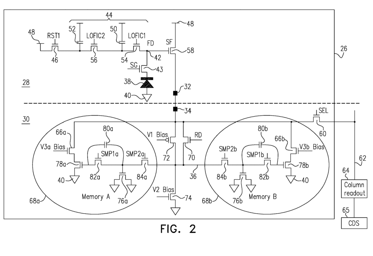
Appleは、LOFIC回路を備えたCMOSイメージセンサーに関する特許を2024年3月に米国特許商標庁(USPTO)で取得しています。
この特許では、
- 自動露出制御なしで、暗い屋内と直射日光下の屋外を含んだような広範囲の照明条件でもセンシングが可能
- 低ノイズで約120dBのダイナミックレンジを実現
といった特徴が明記されています。
そのため、2028年モデルのiPhoneに搭載される自社開発イメージセンサーは、この特許に基づく設計である可能性が高いとみられます。

セルラーモデムやワイヤレスチップに続く自社開発の流れ
LOFIC-CMOSイメージセンサーの開発にはソニーやSamsungも参入しており、2026〜2027年にかけてAndroidスマートフォンへの搭載が始まると予想されています。
Appleはこれら他社製センサーをiPhoneに搭載することによって知見を蓄積し、自社開発イメージセンサーの完成度向上に活かすと考えられます。
同社はこれまでも、
- QualcommのSnapdragon Xシリーズモデムを自社開発のC1/C1Xに置き換え
- Broadcom製Bluetooth/Wi-Fiチップを自社設計のN1で代替
するなど、主要部品の段階的な内製化を進めてきました。
同様の流れが、今後はカメラセンサー分野にも及ぶ可能性があります。
一方でマイクロLEDディスプレイの内製化は断念
ただし、Appleの自社開発プロジェクトが常に成功しているわけではありません。
Apple Watch Ultra 3への搭載が噂されたマイクロLEDディスプレイの内製化計画は、コスト高による価格競争力の低下を懸念して中止されたと報じられています。
そのため、Appleのイメージセンサー内製化も長期的な課題と試行錯誤の中で進行しているとみられます。

Photo:USPTO, 数码闲聊站氏(Digital Chat Station)/Weibo, Apple Club(@appleclubs)/X

